成文日期:
失效日期:
发布日期:2023年11月30日
文号:精政办发〔2023〕44号
有效性:现行有效
索引号:jzb/2024-00001
精河工业园区管委会,各乡镇人民政府、场管委、街道办事处,县人民政府各部门,县直各企事业单位:
《精河县突发环境事件应急预案》已经县人民政府同意,现印发你们,请认真遵照执行。
2023年11月27日
精河县突发环境事件应急预案
1.总则
1.1编制目的
为建立健全本县突发环境事件应急机制,提高政府应对突发环境事件的组织指挥和应急处置能力,最大程度地控制、减轻和消除突发环境事件的风险和危害,保障公众健康和生命财产安全,维护社会稳定,保护环境,促进社会全面、协调、可持续发展,制定本预案。
1.2编制依据
依据《中华人民共和国环境保护法》《中华人民共和国突发事件应对法》《国家突发公共事件总体应急预案》《国家突发环境事件应急预案》《新疆维吾尔自治区突发事件应对办法》《新疆维吾尔自治区突发公共事件总体应急预案》《新疆维吾尔自治区突发环境事件应急预案》《博尔塔拉蒙古自治州突发环境事件应急预案》及相关法律法规,结合本县工作实际,制订本预案。
1.3适用范围
本预案所称的突发环境事件,是指由于污染物排放或自然灾害、生产安全事故等因素,导致污染物或放射性物质等有毒有害物质进入大气、水体、土壤等环境介质,突然造成或可能造成环境质量下降,危及公众身体健康和财产安全,或造成生态环境破坏,或造成重大社会影响,需要采取紧急措施予以应对的事件,主要包括大气污染、水体污染、土壤污染及危险废物等突发性环境污染事件。
本预案适用于本县行政区域内的突发环境事件,以及由其它突发事件引发环境污染且环境污染应急处置上升为主要处置目标,应由生态环境部门牵头处置的突发环境事件应急处置工作。
当发生其他突发事件引发的环境污染且环境污染应急处置为次要处置目标,应由其他主责部门牵头处置时,启动其他相应的应急预案,生态环境部门全力配合做好应急处置工作。
1.4工作原则
⑴以人为本,预防为主。加强对环境事件危险源的监测、监控并实施监督管理,建立环境事件风险防范体系,积极预防、及时控制、消除隐患,提高环境事件防范和处理能力,尽可能地避免或减少突发环境事件的发生,消除或减轻环境事件造成的中长期影响,最大程度地保障公众健康,保护人民群众生命财产安全。
⑵统一领导,明确责任。加强对突发环境事件应对的统一领导,建立健全部门之间和地区之间的协同与合作机制,提高应急反应能力。针对不同污染源所造成的环境污染的特点,实行分类管理,充分发挥部门专业优势,使采取的措施与突发环境事件造成的危害范围和社会影响相适应。充分发挥各乡镇场的职能作用,坚持属地为主,实行分级响应。
⑶专兼结合,协调高效。积极做好应对突发环境事件的思想准备、物质准备、技术准备、工作准备,加强培训演练,充分利用现有专业环境应急救援力量,整合环境监测网络,引导、鼓励实现一专多能,发挥经过专门培训的环境应急救援力量的作用。
⑷整合资源,多方联动。整合政府、重点企业、社会等应急救援力量,建立多方联动机制,加强培训演练,最大限度地发挥互助机构的作用,形成应急救援合力应对突发环境事件。
1.5事件分级
按照突发事件严重性和紧急程度,突发环境事件由高到低分为特别重大(Ⅰ级)、重大(Ⅱ级)、较大(Ⅲ级)和一般(Ⅳ级)四级。
1.5.1特别重大突发环境事件(Ⅰ级)
凡符合下列情形之一的,为特别重大突发环境事件:
⑴因环境污染直接导致30人以上死亡或100人以上中毒或重伤的;
⑵因环境污染疏散、转移人员5万人以上的;
⑶因环境污染造成直接经济损失1亿元以上的;
⑷因环境污染造成区域生态功能丧失或该区域国家重点保护物种灭绝的;
1.5.2重大突发环境事件(Ⅱ级)
凡符合下列情形之一的,为重大突发环境事件:
⑴因环境污染直接导致10人以上30人以下死亡或50人以上100人以下中毒或重伤的;
⑵因环境污染疏散、转移人员1万人以上5万人以下的;
⑶因环境污染造成直接经济损失2000万元以上1亿元以下的;
⑷因环境污染造成区域生态功能部分丧失或该区域国家重点保护野生动植物种群大批死亡的;
⑸因环境污染造成县级城县集中式饮用水水源地取水中断的;
1.5.3较大突发环境事件(Ⅲ级)
凡符合下列情形之一的,为较大突发环境事件:
⑴因环境污染直接导致3人以上10人以下死亡或10人以上50人以下中毒或重伤的;
⑵因环境污染疏散、转移人员5000人以上1万人以下的;
⑶因环境污染造成直接经济损失500万元以上2000万元以下的;
⑷因环境污染造成国家重点保护的动植物物种受到破坏的;
⑸因环境污染造成乡镇集中式饮用水水源地取水中断的:
⑹造成跨设区的县级行政区域影响的突发环境事件;
1.5.4一般突发环境事件(Ⅳ级)
凡符合下列情形之一的,为一般突发环境事件:
⑴因环境污染直接导致3人以下死亡或10人以下中毒或重伤的;
⑵因环境污染疏散、转移人员5000人以下的;
⑶因环境污染造成直接经济损失500万元以下的;
⑷因环境污染造成跨区(县)级行政区域纠纷,引起一般性群体影响的;
⑸因环境污染造成跨县级行政区域纠纷,引起一般性群体影响的;
⑹对环境造成一定影响,尚未达到较大突发环境事件级别的。
上述分级标准有关数量的表述中,“以上”含本数,“以下”不含本数。
2.区域概况
2.1自然地理
1.地理位置
精河县位于新疆维吾尔自治区西北部,准噶尔盆地西南边缘,天山支脉婆罗克努山北麓。县境东临乌苏市,南邻伊犁地区的尼勒克县、伊宁县,西接博乐市,东北与塔城地区的托里县相连。地理坐标为东经81°46′~83°51′,北纬44°02′~45°10′之间。东西长166km,南北宽134km,面积为11275km2,约占博尔塔拉蒙古自治州总面积的37%。县城精河镇东距乌县425km。精河县地处北疆交通要冲,312国道乌伊公路东西穿过县境而过,第二座欧亚大陆桥乌--阿铁路斜穿县境东部和北部。
2.地形地貌
精河县位于准噶尔盆地西南缘,地形南高北低,自南向北呈扇状坡面,南部为天山支脉婆罗科努山及其支脉的山区,中部为山前冲积-洪积倾斜平原区,北边为艾比湖及其湖积平原区。地形地貌类型复杂,主要分为:
⑴山地:由阿拉套山及天山支脉别珍套山、科古尔琴山、婆罗科努山的高山和亚高山、低山组成,海拔高程1100m~3500m,面积462879ha,占精河县总面积的41%,是山区放牧草场区域。
⑵山前冲积-洪积倾斜平原:由两侧山前洪积扇群及河流冲积平原组成,高程378m~1100m,地形由南向北倾斜,地形平坦、开阔,多为戈壁、沙漠,其实是耕地,平原面积609642ha,占精河县总面积的54%。平原中主要农区范围东起托托、西至五台的天山北麓冲积—洪积扇群组成的山前倾斜平面,主要集中在扇形下部扇缘地带,是适合种植粮油作物、农牧结合的区域。
⑶艾比湖盆地:由南北二侧河流洪积平原,河流阶地及湖积平原组成,高程202m~400m,是较适合经济作物棉花种植和牧业定居的区域。
3.气候条件
精河县气候属典型的北温带干旱荒漠型大陆性气候。主要特点是光照充足,冬夏冷热悬殊,昼夜温差大,干燥少雨,蒸发量大,春季多风沙、浮尘天气。日照时间长,年日照达2700多小时,无霜期170多天,一月份平均气温-15℃,七月份平均气温26℃,极端最低气温为-34℃,极端最高气温为42℃;年平均降水量102mm,年主导风向为NW,年平均风速:1.9m/s。其资料如下:
夏季最大风频风向N,S
年平均风速1.9m/s
年最大风速40m/s
年平均气温7.2℃
极端最高气温41.60℃
极端最低气温-36.80℃
无霜期176d
年平均降雨量111.6mm
年平均日照时数2710h
基本雪压值0.30Kpa
最大冻土深度135cm
4.水系水文
精河县有河流、湖泊、山溪和泉流,以及广布山区平原的地下水。南部山区降水较多,中部、北部平原干燥少雨。南高北低的地形决定了境内河流均发源于南部山区,而以艾比湖为地表水和地下水汇总之地。
⑴地表水
精河县水和水能资源比较丰富,精河县境内有精河、大河沿子河、托托河、阿恰勒河等四条较大河流及艾比湖等水系,均发源于天山雪峰,年径流量合计为8.15亿m3。水量在年内受气温影响变化较大,年际变化却很小,年总径流量基本稳定。其中精河河流全长114km,河道纵坡1/40~1/120,流域面积2150km2,年径流量4.7亿m3,由南向北注入艾比湖。
艾比湖是精河县境惟一大湖,也是新疆第二大咸水湖。位于会境北部35公里处,阿拉山口东南。湖身呈椭圆状。湖面海拔189米,是博尔塔拉蒙古自治州最低点。博尔塔拉河、精河、奎屯河分别自西、南、东三面注入艾比湖,是水的主要来源,还有艾比湖盆地内的大量地下径流的泉水源源注入,是典型的内陆盐湖。湖区有盐、芒硝、硫酸镁、硼、溴、碘等矿藏。阳光充足,年日照率61%-64%。
大河沿子河全长107km,流域面积1820km2,年径流量1.36亿m3。另外两条河流为阿恰尔河和托托河,年径流量分别为1.36亿m3和0.78亿m3,主要由新疆生产建设兵团第五师开发利用。全县河流纵坡大,水流急,易开发。
精河发源于天山中段的婆罗科努山北坡,北流注入艾比湖,地理位置介于东经93°45′~94°18′、北纬43°00′~43°10′之间,整个流域位于精河县境内。精河源区为现代冰川作用区和永久积雪覆盖区,分布有冰川129条,冰川总面积96.2km2,冰川覆盖度达6.4%,冰川融水占精河水量的20.4%。河流上游主要由乌图精河与冬都精河两大源流汇合而成,出山口设有精河山口水文站,测站以上河长75km,集水面积1419km2,河道比降20‰,多年平均年径流量4.759亿m3。
⑵地下水
精河县地下水年补给总量为3.66亿m3,可开采量1.61亿m3。地下水补给来源主要以河水渗漏为主,另外平原区的季节性降水,灌溉渗漏也对地下水的补给有一定的意义。精河县地下水开采深度一般在150m左右,在生活供水区的开采井部分达200m左右。地下水的开发利用方式主要为用于农业灌溉及生活饮用水的分散开采方式。
3.组织机构及职责
3.1组织结构
精河县突发环境事件应急组织结构由县突发环境事件应急指挥中心(以下简称“县环境应急指挥中心”)、县环境应急指挥中心办公室、成员单位、专家组组成。精河县突发环境事件应急组织结构框架图见附件1。
3.2指挥机构及职责
3.2.1县环境应急指挥中心及职责
精河县人民政府设立县环境应急指挥中心,总指挥由县长担任,副总指挥由副县长担任。负责统一领导、组织和指挥开展一般突发生态环境事件的应急处置工作;在自治区、自治州、县环境应急指挥中心领导下参与处置特别重大、重大、较大突发生态环境事件;及时向县委、县人民政府、县应急救援总指挥部和博尔塔拉蒙古自治州环境应急指挥中心报告事态变化情况,适时向社会公布。
成员由各乡、镇人民政府,县委宣传部、县委网信办、博州生态环境局精河县分局、县应急管理局、县水利局、县公安局、县交通运输局、县住房和城乡建设局、县教育局、县财政局、县自然资源局、县农业农村局、县卫健委、县商务和工业信息化局、县人力资源和社会保障局、县消防救援大队等有关单位负责人担任。
根据应急响应级别,按照县环境应急指挥中心统一部署和各自职责,配合做好突发生态环境事件的应对处置工作。各成员单位具体职责如下:
⑴各乡、镇人民政府,按照“属地管理”原则,负责所辖区域内发生的突发生态环境事件的预防、预警、应急处置工作。负责及时报告事故有关情况,组织做好先期处置,防止污染扩散;配合有关部门做好群众的疏散和安抚;为事故现场处置、人员及疏散群众提供后勤保障;参与事故的善后处置和调查处理。
⑵县委宣传部、县党委网信办:负责统一协调突发环境事件信息发布工作;开展网络等媒体的舆情分析、管控及引导工作,实时、准确全面、客观地进行宣传报道。组织宣传应急避险等知识,加强对互联网信息的管理。
⑶博州生态环境局精河县分局:负责处置违反环境保护法规造成的突发环境事件;协助处置安全生产事故、交通事故、自然灾害等引发的突发环境事件;对突发环境事件进行环境应急监测、分析并及时提供监测数据,跟踪环境污染动态情况;提出控制、消除突发环境污染的应急处置建议;提出对现场泄漏污染物的处置和环境修复建议;配合公安部门对突发环境事件中存在的环境违法行为进行立案查处;负责制定、完善突发环境事件应急预案;加强环境应急能力与机制建设;组织对突发环境事件现场及可能受影响的区域进行污染损害评估;收集、汇总、分析突发环境事件资料。
⑷县应急管理局:协助对因生产安全事故引发的突发环境事件进行应急处置;负责调度安全生产专家和技术支撑单位参与突发环境事件处置;提供可能发生突发环境事件的企事业单位的相关信息;监管相关企业和督促负有安全生产监督管理职责的部门做好本行业企业围堰、事故池、下水井盖、厂界围墙等防止泄漏的安全生产设施。监管相关企业和督促负有安全生产监督管理职责的部门对因安全生产事故造成的突发生态环境污染事故调查处置工作,督促、监督相关企事业单位建立有毒有害物资的生产、储备和运输信息数据库。
⑸县水利局:配合开展水利工程防护措施实施、调水稀释等工作;参与突发环境事件水污染的调查和评价工作;提供水利和湖泊等有关信息资料。
⑹县公安局:受理突发环境事件社会报警信息;参与因剧毒品造成突发环境事件的调查处置工作;负责对涉嫌重大责任事故犯罪的突发环境事件责任人进行立案侦查;根据突发环境事件现场指挥部的要求,对突发环境事件影响区域实施治安警戒,维护现场秩序。
⑺县交通运输局:负责突发环境事件现场外围公路应急维护,保障应急物资运输车辆快速通行;协助公安交警和应急管理部门做好公路交通分流和应急救援工作;参与因公路交通运输事故引发的突发环境事件的处置和调查;配合有关部门做好公路及桥梁的环境安全风险防范工作,防止因公路交通运输事故引发的次生环境污染。
⑻县住房和城乡建设局:组织对房屋建筑和市政基础设施工程的抢修和维护,协调突发环境事件导致的市政基础设施的修复工作;负责组织协调进入市政管网的水体污染物的控制和处置。
⑼县教育局:制定学生、教职员工紧急避险和应急疏散方案,宣传并组织实施。
⑽县财政局:负责保障本级突发环境事件应急能力标准化建设经费、应急处置资金,确保本县突发环境事件所需装备、器材等物资经费,并做好经费使用的审核、划拨及其监督管理工作。
⑾县自然资源局:负责涉及陆生野生动物资源、野生植物资源、湿地资源、林业自然保护区和林业生态保护方面的工作;负责协助有关部门进行突发环境事件环境监测站、网的管理。
⑿县农业农村局:负责养殖业水环境治理技术的宣传推广工作;负责防治养殖业外来生物入侵的相关普查、监测和技术推广工作;参加对在突发环境事件中农田土壤、农作物受污染情况的核定,协助相关农业环境污染应急处理和受污染威胁的农业珍稀野生植物资源保护工作;协助做好突发环境事件应急处置现场的农村村民和农业生产物资的疏散和转移工作;协助调查评估突发环境事件引起的农业污染事故和对农业生产影响。
⒀县卫健委:负责组织现场受伤、中毒人员的身体检查、紧急救治和转移,统计事件医疗救治的伤亡人数;负责组织医疗机构内医疗污水、医疗废物类引发突发环境事件的应急处置;负责突发环境事件中生活饮用水、公共场所的卫生监测检验和卫生学评价。
⒁县科技局、商务和工业信息化局:负责淘汰相关行业的落后产能,配合关闭取缔相关违法企业;协调移动、联通、电信和铁通公司,确保突发环境事件应急处置的通信联络顺畅工作。
⒂县人力资源和社会保障局:协助现场处置和后期处置中人员的安置,受伤害职工工伤认定及伤残鉴定,参保职工工伤待遇保障工作。
⒃县消防救援大队:负责突发环境事件的现场火灾扑救;参加突发环境事件的现场抢险和应急救援,配合做好突发环境事件的现场处置工作;参与制定实施抢险救援过程中防范次生污染的工作方案。
本预案未列出的其它部门和单位根据县环境应急指挥中心的指令,按照本部门、本单位职责和应急处置需要,依法做好突发生态环境事件应急处置的相关工作。
3.2.2县环境应急指挥中心办公室
县环境应急指挥中心办公室设在博州生态环境局精河县分局,作为其日常办事机构。办公室主任由博州生态环境局精河县分局局长兼任,副主任由博州生态环境局精河县分局分管应急工作的副局长兼任。
负责县环境应急指挥中心日常工作;负责指挥、协调突发生态环境事件应急工作的事前预防预警、事中响应应对和事后评估管理工作;负责常态下的日常应急管理和非常态下突发生态环境事件应对处置综合协调工作;掌握全县突发生态环境事件动态,接收各级各有关部门的预测预警信息,分析突发生态环境事件情况,研判突发生态环境事件发展趋势,向县环境应急指挥中心提出应急行动意见,执行县环境应急指挥中心决定;召集县环境应急指挥中心成员单位研究提出应急处置方案,组织开展应急处置工作;指导发生一般突发生态环境事件的应对处置工作;协同县人民政府有关部门核定实施应急预案的各项开支;向县环境应急指挥中心提出对实施应急预案单位和个人的奖惩意见;修订完善突发生态环境事件应急预案;建立跨区域应急协调应对机制;向县应急救援总指挥部和博尔塔拉蒙古自治州环境应急指挥中心报送信息。
3.2.3专家组
县环境应急指挥中心专家组由县环境应急指挥中心办公室组建和管理,参与突发生态环境事件的监测、预警、响应及总结评估专家会商,针对突发生态环境事件应对过程中涉及的关键问题提出对策和建议,为县环境应急指挥中心的决策提供科学依据。
4.监测与预警
4.1监测与预防
4.1.1监测
博州生态环境局精河县分局要会同有关部门和成员单位加强日常监管,并对可能导致污染事故的风险信息加强收集、分析和研判。对可能发生的突发环境事件进行风险评估、资料搜集和整理报告。
监测的重点目标包括:饮用水水源地;居民聚集区、医院、学校等敏感区域;精河、博尔塔拉河、艾比湖等河流和湖泊;生态红线区、自然保护区、风景名胜区;危险化学品、危险固废和重金属的生产、经营、储存、使用、运输、管理单位及其周边环境保护目标。
4.1.2预防
⑴开展污染源和生物物种资源调查,建立环境风险源数据库。开展对产生、贮存、运输、销毁或处置废弃化学品、危险废物的普查,掌握本县环境污染源的产生、种类、级别、数量及分布情况,建立本县环境污染源档案及数据库,并对重点单位、重点部位进行监测监控。了解国内外的有关技术信息、进展情况和形势动态,提出相应的对策和意见。
⑵完善应急预案体系。制订重点河段、饮用水源地、自然保护区、人群集聚区等环境敏感区以及化工集中区域、高风险企业的突发环境事件应急预案,完善乡镇场、相关部门和企事业单位的突发环境事件应急预案,建立健全环境风险防范体系,及时消除环境隐患。
⑶建立健全环境风险评估机制。对本县主要环境风险源进行定量、定性分析,开展突发环境事件的假设、分析和风险评估工作,对事件发生的可能性和发生后的严重性进行认识及评价。
⑷加强重点河段、湖泊、水库、水源地、自然保护区、人群聚集区等环境敏感区周边企业风险源和交通运输的监管,划定防护范围,并在环境敏感区域设立地理界标和警示标志,减少突发环境事件的损失和影响。
⑸建立部门应急联动工作机制,实现部门信息交流制度化。博州生态环境局精河县分局应加强与县应急管理局、县交通运输局、县公安局、县水利局、县农业农村局等部门信息交流和沟通,实现部门信息交流制度化、规范化和常态化,通报突发环境事件的环境监测信息、处置信息和可能影响环境的安全生产事故、交通事故、自然灾害等信息,并建立应急联动工作机制。同时,应积极与周边的县区建立环境应急联动机制。
4.2预警
按照“早预防、早发现、早报告、早处置”的原则及突发环境事件的等级、发展趋势、危害程度,及时发布预警信息或提出相应的预警建议,组织实施相应的预警响应。
4.2.1预警分级
按照突发环境事件发生的紧急程度、发展态势和可能造成的危害程度,突发环境事件的预警级别由高到低分为Ⅰ级、Ⅱ级、Ⅲ级和Ⅳ级,分别用红色、橙色、黄色和蓝色标示。根据事态的发展情况和采取措施的效果,预警可以升级、降级或解除。
蓝色(Ⅳ级)预警:可能发生一般突发环境事件。
黄色(Ⅲ级)预警:可能发生较大突发环境事件。
橙色(Ⅱ级)预警:可能发生重大突发环境事件。
红色(Ⅰ级)预警:可能发生特别重大突发环境事件。
4.2.2预警发布
当本行政区域内已发生或在日常监督检查、排查中发现的环境安全隐患问题有可能将要发生一般或较大突发环境事件时,经博尔塔拉蒙古自治州环境应急指挥中心办公室确认后,由博尔塔拉蒙古自治州环境应急指挥中心发布蓝色或黄色预警。
当本行政区域内已发生或在日常监督检查、排查中发现的环境安全隐患问题有可能将要发生重大或特别重大环境事件时,经博尔塔拉蒙古自治州环境应急指挥中心办公室确认后,由博尔塔拉蒙古自治州环境应急指挥中心向博尔塔拉蒙古自治州人民政府上报,由博尔塔拉蒙古自治州人民政府报请自治区人民政府批准后,由自治区人民政府发布橙色或红色预警。
预警级别的变更、取消与发布的程序相同。
4.2.3预警信息
预警信息包括突发环境事件的类别、预警级别、起始时间、可能影响范围、警示事项、应采取的措施和发布机关等。
预警信息的发布、调整和解除可通过广播、电视、通信、互联网、微信公众号、特定区域应急短信、警报器、宣传车或组织人员逐户通知等方式进行,对老幼病残孕等特殊人群以及学校等特殊场所和警报盲区应当采取有针对性的公告方式。
4.2.4预警响应
预警信息发布后,可视情采取以下措施:
⑴分析研判。组织有关成员单位和专业技术人员及专家,及时对预警信息进行分析研判,预估可能的影响范围和危害程度。根据事态发展,视情启动相关应急响应。
⑵应急准备。指令相关应急救援队伍、负有特定职责的人员进入应急状态,动员后备人员做好参加应急救援和处置工作的准备,并调集应急所需物资和设备,做好应急保障工作。对可能导致突发环境事件发生的相关企业或单位加强环境监管,立即组织开展环境监测,适时掌握污染动态。
⑶舆论引导。及时准确发布事态最新情况,公布咨询电话,组织专家解读。加强相关舆情监测,做好舆论引导工作。
⑷针对突发环境事件可能造成的危害,封闭、隔离或者限制使用有关场所,中止可能导致危害扩大的行为和活动。
5.应急响应与处置
5.1信息报送
5.1.1信息报送程序
突发环境事件发生后,博州生态环境局精河县分局通过互联网信息监测、环境污染举报热线等多种渠道,加强对突发环境事件的信息收集,及时掌握突发环境事件发生情况。
⑴公民、法人或者其他组织,特别是责任单位,发现突发环境事件发生后,应立即向博州生态环境局精河县分局报告,同时责任单位要通报可能受到影响的单位。
⑵本县相关部门发现突发环境事件有可能产生次生、衍生突发环境事件时,应及时将信息通报给博州生态环境局精河县分局。
⑶发生特别重大、重大级别突发事件,必须在事发后15分钟内电话向精河县人民政府及博州生态环境局精河县分局报告,30分钟内书面报告。
⑷发生较大级别突发事件,必须在事发后30分钟内电话向精河县人民政府和博州生态环境局精河县分局报告,1小时内书面报告,但力争30分钟内上报。
⑸发生一般级别突发事件,必须在事发后1小时内向精河县人民政府和博州生态环境局精河县分局报告。
⑹涉及敏感人群、敏感时间、敏感地点,或突发事件本身比较敏感的,突发事件信息报告不受级别限制,报告方式和时限按照重大以上级别突发事件信息报告要求执行。
5.1.2信息报送内容
突发环境事件的报告分为初报、续报和终报,初报内容应当包括:突发环境事件的发生时间、地点、信息来源、事件起因和性质、基本过程、主要污染物质和数量、人员受害情况等环境敏感点受影响情况、事件发展趋势、处置情况、拟采取的措施以及下一步工作建议等,并尽可能提供可能受到突发环境事件影响的环境敏感点的分布示意图。
续报应当在初报的基础上报告突发环境事件有关的监测数据、发生原因、过程、进展情况、趋势分析、危害程度以及采取的措施、效果等情况,附应急监测快报和监测点位分布图。
终报应当报告处理突发环境事件的措施、过程、结果和突发环境事件潜在或间接的危害及损失、社会影响、处理后的遗留问题、责任追究等详细情况。
5.2先期处置
发生重大、特别重大突发环境事件后,县环境应急指挥中心负责组织先期处置,采取一切必要措施,保证人员安全,全力控制污染源扩大,防止次生、衍生污染事件的发生。
5.2.1事发单位要立即启动本单位突发环境事件应急预案,迅速实施先期处置,果断控制或切断污染源,采取泄漏物料或事故废水截流、收集等污染防治措施,控制污染物流出外环境的途径,尽量降低对周边环境的影响。
5.2.2发生突发生态环境事件时,按照属地管理原则,乡镇政府层面指挥机构及时向县环境应急指挥中心上报预警信息,并启动本级权限应急预案,第一时间开展危险人员疏散、救援等工作,控制事态发展;发布前期准备信息,报告县环境应急指挥中心采取相应措施。县环境应急指挥中心接报告后,报告精河县人民政府,经同意后启动本级应急预案,通知各相关部门按照预案分工,认真履行工作职责,采取相应措施。
5.2.3发生Ⅰ级、Ⅱ级、Ⅲ级突发生态环境事件时,按照自治区、县突发生态环境事件应急指挥中心办公室指令执行。
5.2.4先期处置过程中的情况上报博尔塔拉蒙古自治州环境应急指挥中心办公室。
5.3分级响应
突发环境事件发生后,在先期处置的基础上,按照响应程序,启动预案的相应级别响应措施进行处置。当超出相关责任主体自身处置能力时,可向上一级应急管理机构提出请求,由上一级应急管理机构决定是否启动更高级别的响应措施进行处置。
根据突发环境事件的严重程度和发展态势,将应急响应分为Ⅰ级、Ⅱ级、Ⅲ级和Ⅳ级四个等级。
5.3.1Ⅰ级、Ⅱ级和Ш级响应
发生特别重大、重大、较大突发生态环境事件时,按程序上报自治区、县突发生态环境事件应急指挥中心办公室,按指令执行,并启动本级突发环境应急预案。
5.3.2Ⅳ级应急响应
发布Ⅳ级预警时,县环境应急指挥中心办公室上报精河县人民政府,由精河县人民政府决定启动Ⅳ级应急响应,负责应对工作,并向各有关单位发布启动相关应急程序的命令。
5.4现场指挥部
根据应急处置工作需要,由县人民政府牵头成立现场指挥部,负责组织现场应急处置工作。
现场指挥划分为专业处置责任和行政协调责任,现场执行总指挥行使专业处置权,现场总指挥行使重要事项决策和行政协调权。
现场指挥部下设相关工作组,包括污染处置组、应急监测组、专家咨询组、信息宣传组、应急救援组和应急保障组。
⑴污染处置组:由博州生态环境局精河县分局牵头,县公安局、县自然资源和规划局、县交通局、县水利局、县卫生健康局、县农业农村局、县应急管理局等部门及事发地乡镇人民政府参加。主要负责对突发环境事件进行处置与调查,对现场应急处置工作进行技术指导;迅速组织切断污染源,分析污染途径,采取措施防止污染物扩散;组织采取有效措施,消除或减轻已经造成的污染;明确不同情况下的现场处置人员须采取的个人防护措施;建立现场警戒区和交通管制区域,确定重点防护区域和人员疏散方式及途径。
⑵应急监测组:由博州生态环境局精河县分局牵头,县卫生健康局、县水利湖泊局、县农业农村局、县自然资源和规划局等部门参加。主要负责组织开展突发环境事件的应急监测,明确相应的监测方案、点位和频次,分析并提供监测数据,为突发环境事件应急决策提供依据。
⑶专家咨询组:由博州生态环境局精河县分局牵头,会同有关部门组织现场专家组。主要负责提出污染应急处置工作的建议,参与污染源、污染物性质、污染范围、危害程度的快速确定工作,研究、评估污染处置、人员撤离等工作方案。
⑷信息宣传组:由县委宣传部牵头,县公安局、博州生态环境局精河县分局、县自然资源和规划局、县水利局、县应急管理局、县交通运输局、县网信办、电信公司、移动公司、联通公司等有关部门参加。主要负责组织权威信息发布,起草突发环境事件的新闻发布稿和情况公告;协调新闻媒体通过电视、电台、网络及时发布突发环境事件应急情况的信息;收集分析舆情和社会公众动态,加强媒体、电信和互联网管理,正确引导舆论;及时澄清不实信息,回应社会关切。
⑸应急救援组:由县卫生健康局牵头,博州生态环境局精河县分局、县公安局、县应急管理局、县交通局等有关部门参加。主要负责组织现场人员紧急救援,伤病员医疗救治、应急心理援助;指导和协助开展受污染人员的去污洗消工作;提出公众健康保护措施建议。
⑹应急保障组:由博州生态环境局精河县分局牵头,各相关部门分别按各专项应急指挥部办公室职责分工落实。其中,县人民政府主要负责为应急处置提供各项保障;县公安局负责维持现场秩序,维护社会稳定。
5.5现场应急处置
⑴立即启动本级应急预案,组织应急力量开展应急处置工作。
⑵组织现场监测和消毒,抢救受伤人员,转移可能受到伤害的群众。
⑶加强突发环境事件动态实时监测,分析原因,科学预测动态走向。
⑷及时组织指导有关新闻单位做好宣传报道,尽快消除社会不实传闻和群众的恐慌心理,同时组织有关部门依法打击造谣惑众者。
⑸发生较大突发环境事件时,县环境应急指挥中心除采取“组织现场监测和消毒,抢救受伤人员,转移可能受到伤害的群众”措施外,还应按照博尔塔拉蒙古自治州突发环境事件应急预案及相关要求,在博尔塔拉蒙古自治州环境应急指挥中心统一指挥下开展工作。
⑹发生特别重大、重大突发环境事件时,县环境应急指挥中心除采取“组织现场监测和消毒,抢救受伤人员,转移可能受到伤害的群众”所述措施外,还应按照环保自治区突发环境事件应急预案的要求,在自治区环境应急指挥中心统一指挥下开展工作。
⑺水环境污染事件
引发水环境污染事件的因素一般有危险化学品泄漏、火灾或爆炸、废水事故排放、固体废物(含危险废物)事故排放及水体富营养化等,突发水环境污染事件时的应急处置措施如下:
发生危险化学品泄漏、火灾或爆炸事件时,大量有毒有害污染物进入水体,采取向泄漏区投放吸附剂、中和剂、沉淀剂等化学药品及围油索消除污染物,投放沙袋拦截、围堵消防废液或修建临时事故池等措施进行应急处置;对排入城市污水管网的生产废水,及时通知下游污水处理厂说明废水(或医疗废水)类型、提出强化处理的建议措施;对固体废物(含危险废物)事故排放引发的水污染事件,及时对撒落废物进行打捞、收集和无害化处理,同时对污染水体投加消毒剂、吸附剂、中和剂、沉淀剂等化学药品去除污染物;爆发水体富营养化事件时,及时采取打捞藻类,投加灭藻剂、消毒剂等措施。
必要时,根据水体受污染情况协调支流或下游水库调节流量;同时,通知河流下游区域注意人畜饮水安全,如下游区域饮水安全受到威胁,采取相应措施向受影响区域内居民供应安全饮用水。
⑻大气污染事件
引发大气污染事件的因素一般有危险化学品泄漏、火灾或爆炸、大型建筑工地扬尘、工矿企业废气事故排放、森林火灾等,突发大气污染事件时的应急处置措施如下:
当发生危险化学品泄漏、火灾或爆炸事件时,大量燃烧废气进入空气中,采取向泄漏、火灾或爆炸区喷洒水雾、稀酸或稀碱液进行紧急处理,防止危险物质挥发,同时在地势较低处挖临时事故池或投放沙袋用以收集、围堵消防废液,防止污染物进入水体;当大型建筑工地施工扬尘引发雾霾天气时,采用除霾车喷洒水雾消除雾霾,同时暂停大型建筑工地施工,必要时采取人工干预天气措施;工矿企业废气事故排放引发大气污染事件时,根据情况立即采取限产、停产措施,停止向大气环境排放污染物,同时要求事故单位及时采取整顿措施;当发生森林火灾时,根据实际情况,在必要时采取人工干预天气措施。
⑼土壤污染事件
危险化学品泄漏、火灾或爆炸、废水事故排放、固体废物(含危险废物)事故排放事件均可引发土壤污染事件,应急处置措施为:
当发生危险化学品泄漏、火灾或爆炸事件污染附近土壤时,采取向泄漏污染区表面投放吸附剂或中和剂进行紧急处理,防止泄漏物质进一步扩散,必要时可对污染土壤采取剥离措施;当发生工业废水事故排放污染土壤时,及时切断污染源,并设法将废水引流至附近污水管网或修筑临时事故池,避免污染扩大;固体废物事故排放污染土壤时,及时组织有关人员将废物清运并无害化处理,同时对受污染的土壤采取消毒或剥离措施。
5.5.1环境风险物质(或危险化学品)事故一般处置方案
⑴接警。接警时应明确危险化学品事故发生的单位、地址、事故引发污染物、事故简要情况、人员伤亡情况等。
⑵隔离事故现场,建立警戒区。事故发生后,应根据化学品泄漏的扩散情况或火焰辐射热所涉及的范围建立警戒区,并在通往事故现场的主要干道上实行交通管制。建立警戒区域时应注意以下几项:
①警戒区域的边界应设警示标志,应有专人警戒。
②除消防、应急处理人员以及必须坚守岗位人员外,其他人员禁止进入警戒区。
③泄漏溢出的化学品为易燃品时,区域内应严禁火种。
④启动应急预案,根据化学品泄漏的扩散情况或火焰辐射热所涉及的范围建立警戒区,并在通往事故现场的主要干道上实行交通管制。
⑶人员疏散。包括撤离和就地保护两种,撤离是指迅速将警戒区及污染区内与事故应急处理无关的人员撤离,以减少不必要的人员伤亡,紧急疏散时应注意:
①如事故物质有毒时,需要佩戴个体防护用品或采用简易有效的防护措施,并有相应的监护措施。
②应向上风方向转移;明确专人引导和护送疏散人员到安全区,并在疏散或撤离的路线上设立哨位,指明方向。
③不要在低洼处滞留。
④查清是否有人留在污染区和着火区。
⑤就地保护是指人进入建筑物或其它设施内,直至危险过去,当撤离比就地保护更危险或撤离无法进行时,采取此项措施。指挥建筑物内的人,关闭所有门窗,并关闭所有通风、加热、冷却系统。
⑷现场控制。应急人员应根据事故特点和事故引发物质的不同,采取不同的防护措施和急救方法。现场控制与急救的注意事项:
①选择有利地形设置急救点;
②做好自身及伤病员的个体防护;
③防止发生继发性损害;
④应至少2-3人为一组集体行动,以便相互照应;
⑤所用的救援器材需具备防爆功能;
⑥当现场有人受到危险化学品伤害时,应立即进行处理:
a.迅速将患者脱离现场至空气新鲜处;
b.呼吸困难时给氧;呼吸停止立即进行人工呼吸;心脏骤停,立即进行心脏按摩。
c.皮肤污染时,脱去污染的衣服,用流动清水冲洗,冲洗要及时、彻底、反复多次;头面部灼伤时,要注意眼、耳、鼻、口腔的清洗。
d.当人员发生冻伤时,应迅速复温。复温的方法是采用40-42恒温热水浸泡,使其温度提高至接近正常,在对冻伤的部位进行轻柔按摩时,应注意不要将冻伤处的皮肤擦破,以防感染。
e.当人员发生烧伤时,应迅速将患者衣服脱去,用流动清水冲洗降温,用清洁布覆盖创伤面,避免伤面污染;不要任意把水疱弄破;患者口渴时,可适量饮水或含盐饮料。
f.口服者,可根据物料性质,对症处理。
g.经现场处理后,应迅速护送至医院救治。
针对不同事故,开展现场控制工作。应急人员应根据事故特点和事故引发物质的不同,采取不同的防护措施。
⑸泄漏处理。危险化学品泄漏后,不仅污染环境,对人体也可能造成伤害,对可燃物质,还有引发火灾爆炸的可能,因此,对泄漏事故应及时、正确处理,防止事故扩大。泄漏处理一般包括泄漏源控制及泄漏物处理两部分。泄漏现场处理时,应注意以下几项:
①进入现场人员必须配备必要的个人防护器具。
②如果泄漏物是易燃易爆的,应严禁火种。
③应急处理时严禁单独行动,要有监护人,必要时用水枪掩护。
④泄漏源的控制,如果有可能的话,可通过控制泄漏源来消除化学品的溢出或泄漏。
⑤泄漏物的处理,现场泄漏物要及时进行覆盖、收集、稀释处理,使泄漏物得到安全可靠的处置,防止二次事故的发生。
5.5.2火灾事故处置方案要点
⑴确定火灾发生的位置;
⑵确定引发火灾的原因;
⑶确定引起火灾的物质类别(压缩气体、液化气体、易燃液体、易燃物品、自燃物品等);
⑷所需的火灾应急救援处置的专业技术专家类别;
⑸明确火灾发生区域的周围环境;
⑹确定周围区域存在的重大危险源分布;
⑺确定火灾扑救的基本方法;
⑻确定火灾可能导致的后果(含火灾与爆炸伴随发生的可能性);
⑼确定火灾可能导致的后果对周围区域的可能影响规模和程度;
⑽火灾可能导致的后果的主要控制措施(控制火灾蔓延、人员疏散、医疗救护等);
⑾可能需要调动的应急救援力量(公安消防队伍、企业消防队伍等)。
5.5.3爆炸事故处置方案要点
⑴确定爆炸地点;
⑵确定爆炸类型(物理爆炸、化学爆炸);
⑶确定引起爆炸的物质类别(气体、液体、固体);
⑷所需的爆炸应急救援处置技术和专家;
⑸明确爆炸地点的周围环境;
⑹明确周围区域存在的重大危险源分布情况;
⑺确定爆炸可能导致的后果(如火灾、二次爆炸等);
⑻确定爆炸可能导致后果的主要控制措施(再次爆炸控制手段、工程抢险、人员疏散、医疗救护等);
⑼可能需要调动的应急救援力量(公安消防队伍、企业消防队伍等)。
5.5.4易燃、易爆或有毒物质泄漏事故处置方案要点
⑴确定泄漏源的位置;
⑵确定泄漏的化学品种类(易燃、易爆或有毒物质);
⑶所需的泄漏应急救援处置技术和专家;
⑷确定泄漏源的周围环境(环境功能区、人口密度等);
⑸确定是否已有泄漏物质进入大气、附近水源、下水道等场所;
⑹明确周围区域存在的重大危险源分布情况;
⑺确定泄漏时间或预计持续时间;
⑻实际或估算的泄漏量;
⑼气象信息;
⑽泄漏扩散趋势预测;
⑾明确泄漏可能导致的后果(泄漏是否可能引起火灾、爆炸、中毒等后果);
⑿明确泄漏危及周围环境的可能性;
⒀确定泄漏可能导致后果的主要控制措施(堵漏、工程抢险、人员疏散、医疗救护等);
⒁可能需要调动的应急救援力量(消防特勤部队、企业救援队伍、防化兵部队等)。
5.6应急终止
5.6.1应急终止条件
符合下列情形之一的,应急终止:
⑴事件现场危险状态得到控制,事件发生条件已经消除;
⑵确认事件发生地人群、环境的各项主要健康、环境、生物及生态指标已经降低到常态水平;
⑶事件所造成的危害已经被彻底消除,无继发可能;
⑷事件现场的各种专业应急处置行动已无继续的必要;
⑸采取了必要的防护措施以保护公众免受再次危害,并使事件可能引起的中长期影响趋于合理且尽量低的水平。
5.6.2应急响应终止
按照“谁启动、谁终止”的原则,由相关责任主体按程序宣布应急终止。应急终止后,应将情况及时通知参与事件处置的各相关单位,必要时还应通过广播电台、电视台和新闻媒体同时向社会发布应急结束信息。应急终止后,必要时应继续进行一定频次的环境监测。
6.后期工作
6.1损害评估
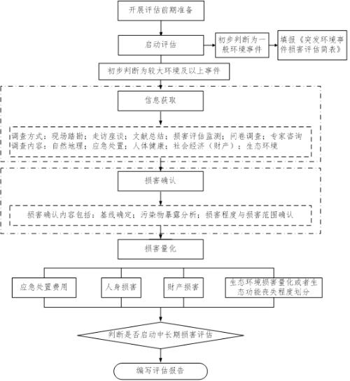
突发环境事件应急响应终止后,要及时组织开展污染损害评估,并将评估结果向社会公布。评估结论作为事件调查处理、损害赔偿、环境修复和生态恢复重建的依据。突发环境事件损害评估工作根据《突发环境事件应急处置阶段环境损害评估推荐方法》(环办〔2014〕118号)来展开。具体的评估程序见图6-1。

图6-1突发环境事件应急处置阶段的损害评估工作程序
6.2善后处置
突发环境事件应急处置结束后要进行善后处置,善后处置包括:
⑴人员安置补偿,征用物资补偿,污染物收集、清理与处理、污染场地修复与处置等事项。
⑵宣布应急处置结束后,在县环境应急指挥中心指导下,由相关部门、事发地乡镇场库负责善后处置工作,及时制订恢复重建计划和善后处理措施,并组织实施。
⑶建立突发环境事件社会保险机制,鼓励各类保险机构开展环境保险,环境事件发生后,各保险机构深入事件发生地开展查勘理赔工作。
6.3总结评估
突发环境事件处置结束后,应开展突发环境事件应对工作总结评估,内容应包括:突发环境污染事件等级、发生的原因和过程,对事前、事发、事中、事后全过程应对工作进行全面客观的分析和评估,针对存在的问题总结经验教训,提出改进建议等,并形成突发环境事件应对总结评估报告。总结评估报告原则上应在处置工作结束后一周内完成,并报县人民政府。重大及以上突发环境事件总结评估报告还应报自治区人民政府。
7应急保障
7.1应急准备
7.1.1预案准备
县环境应急指挥中心办公室按照相关文件中有关框架和内容的要求,结合本县工作实际,制定完善《精河县突发环境事件应急预案》。督促企业按照规定制定本企业突发环境事件应急预案并及时备案,做到“责任落实、组织落实、方案落实、装备落实”。
7.1.2值守准备
完善日常值班与应急值守相结合的接报、出警机制,并严格组织实施;充分做好值守状态时的人员、设备、车辆、通讯及资料准备工作,确保处置突发环境事件现场指挥所需各项科技手段顺畅,做到常态管理与非常态管理的全面、有效衔接。
7.1.3联动机制
根据环境风险防范的需要,加强与相邻及上级生态环境部门的互动,健全风险防范和应急联动机制建设;加强沟通,密切合作,建立及时、有效的联动机制,稳妥处置突发环境事件。
7.2队伍保障
县环境应急指挥中心办公室应组织相关成员单位及人员组成技术支撑、医学救援等组织机构,强化各专业环境应急救援队伍能力配套建设,建立健全突发生态环境事件应急专家库,提高突发生态环境事件快速响应及应急处置能力。建立科学的环境安全预警系统与应急指挥技术平台,县环境应急指挥中心办公室要建立应急专家、危险化学品、应急物资、典型案例等信息库,并向各成员单位发布,实现信息共享;充分利用辖区内大型企业环境应急技术和资源,逐步建立常备专家队伍,为突发环境事件预防和应急处置工作提供科学支撑。
7.3物资保障
各级政府和有关部门按照职责分工,建立应急救援物资储备制度,制定应急物资储备计划,组织应急物资的监管、生产、储备、更新、补充、调拨和紧急配送体系等工作。各级生态环境安全应急指挥机构要制定应急期间应急仪器、车辆、人员防护装备调配计划,明确各项应急物资的储备维护主体、种类与数量。各级管理职能部门应根据各自职能分工,配备种类齐全、数量充足的应急仪器、车辆和防护器材等硬件装备,进行日常管理和维护保养,确保突发生态环境事件应对工作顺利开展。健全公路、铁路、水路运输保障体系,保障人员、物资、装备、器材的运输;加强应急交通管理,保障应急救援交通工具和物资运输交通工具优先通行。应急物资储备计划可参照下表进行制定和储备。
表7.3-1基本应急物资储备表
一级目录 |
二级目录 |
应急物资名称 |
一、个人防护物资 |
过滤式呼吸防护物资 |
防尘口罩 |
过滤式防毒面具 |
||
氧气呼吸器 |
隔绝式呼吸防护物资 |
|
防护服类物资 |
阻燃防护服 |
|
气密型化学防护服 |
||
防腐蚀液护目镜 |
眼面部防护物资 |
|
手足头部防护物资 |
防酸碱鞋(靴) |
|
防化学品手套 |
||
安全帽 |
||
其他个人防护物资 |
||
二、围堵物资 |
沙包沙袋 |
沙土 |
堵漏胶 |
胶类 |
|
围油栏 |
橡胶围油栏 |
|
PVC围油栏 |
||
防火围油栏 |
||
其他围堵物资 |
||
三、处理处置物资 |
吸油毡 |
吸油材料 |
储油容器 |
浮动油馕 |
|
轻便储油罐 |
||
治油剂 |
消油剂 |
|
集油剂 |
||
凝油剂 |
||
吸附剂 |
颗粒状活性炭 |
|
粉末状活性炭 |
||
硅胶 |
||
中和剂 |
硫酸 |
|
碳酸钠 |
||
碳酸氢钠 |
||
氢氧化钙 |
||
氢氧化钠 |
||
絮凝剂 |
聚丙烯酰胺 |
|
固化剂 |
水泥 |
|
沥青 |
||
氧化还原剂 |
双氧水 |
|
高锰酸钾 |
||
灭火剂 |
干粉 |
|
泡沫 |
||
其他处理处置物资 |
||
四、其他类物资 |
采样容器 |
小型密封容器 |
其他物资 |
||
表7.3-2基本应急设备储备表
一级目录 |
应急装备名称 |
一、便携式应急监测仪器 |
便携式分光光度计 |
便携式傅立叶红外分析仪 |
|
便携式气体电化学分析仪 |
|
便携式水质电化学分析仪 |
|
便携式荧光传感器 |
|
便携式气相-质谱联机 |
|
便携式重金属分析仪 |
|
便携式生物毒性分析仪 |
|
便携式X荧光分析仪 |
|
便携式流量计 |
|
其他 |
|
二、装置设备 |
收油机 |
空压泵 |
|
投药装置 |
|
水处理一体化装置 |
|
大气污染处理一体化装置 |
|
固体废物处理一体化装置 |
|
推土机 |
|
挖掘机 |
|
吊装机 |
|
无人机 |
|
其他 |
|
三、应急交通设备 |
应急指挥车 |
应急指挥船 |
|
应急监测车 |
|
应急保障运输车 |
|
其他 |
|
四、应急通讯设备 |
对讲机 |
全球定位仪 |
|
其他 |
|
五、应急急救设备 |
医用急救箱 |
应急供电设备 |
|
应急照明设备 |
|
其他 |
7.4通信保障
通信、广播电视等部门组织、指导协调全县突发环境事件应急工作的通信保障工作,负责突发环境事件信息的应急传播。通信设施受损时,应及时采取措施恢复遭破坏的通信线路和设施,确保通信畅通。
7.5监测预警能力保障
加快环境质量监测网络建设,完善环境监测仪器设备、预测预报模型等软硬件配备;建设突发生态环境事件应急管理数据库,加强大气、土壤、水、生态等环境质量、气象条件、自然灾害预测预报等相关领域基础研究。
7.6资金保障
县人民政府和地方政府应将突发生态环境事件应急预案规划、编制、审批、发布、公布、宣传教育、各专业环境应急救援队伍应急能力建设等工作经费纳入本级财政预算统筹安排,为实施应急预案提供经费保障。同时,根据生态环境应急需要,提出突发环境事件应急演练经费预算,在年度经费预算中安排环境事件应急处置经费,确保遇到突发环境事件时能及时拨付到位。
7.7医疗救护保障
加强紧急医学救援网络体系建设,强化应急物资储备和应急队伍车载化、集成化、自我保障化装备,确保按照预案做好紧急医学救援工作。
8.监督管理
8.1宣传、培训与演练
8.1.1宣传教育
县人民政府及博州生态环境局精河县分局应加强环境应急知识的宣传教育工作,普及突发环境事件预防常识,编印、发放有毒有害物质污染公众防护“明白卡”、各种应急知识手册、宣传教育材料,建立应急管理网站普及应急知识,增强公众的防范意识和相关心理准备,提高公众的防范能力。
8.1.2环境应急培训
博州生态环境局精河县分局通过组织开展专题培训等形式,不定期地对生态环境局应急管理人员、环境应急监测人员、企业法人及管理人员进行环境应急培训,培养一批训练有素的环境应急处置、检验、监测等专门人才。
8.1.3环境应急演练
县环境应急指挥中心办公室和成员单位要按照环境应急预案所规定的职责和程序,有计划地组织环境应急演练,提高突发环境事件应急处置能力。县环境应急指挥中心办公室每年组织一次环境应急演练。
8.2应急能力评估
县环境应急指挥中心办公室按照《全国环保部门环境应急能力建设标准》(环发〔2010〕146号),从环境应急管理机构、人员、硬件装备、业务用房等方面对应急能力进行考核和评估。
8.3奖励与责任追究
各级政府和政府有关部门对在突发环境事件应急处置过程中作出突出贡献的单位和个人给予表彰和奖励。
公民参加突发环境事件救援工作或协助维护社会秩序期间,其在本单位的工资待遇和福利不变。
建立健全行政领导负责制和责任追究制。在突发环境事件应急处置过程中,有失职、渎职行为的,应依据国家有关规定追究有关单位和责任人员的责任。
9.附则
9.1名词术语解释
突发环境事件:指由于污染物排放或自然灾害、生产安全事故等因素,导致污染物或放射性物质等有毒有害物质进入大气、水体、土壤等环境介质,突然造成或可能造成环境质量下降,危及公众身体健康和财产安全,或造成生态环境破坏,或造成重大社会影响,需要采取紧急措施予以应对的事件,主要包括大气污染、水体污染、土壤污染及危险废物等突发性环境污染事件。
突发环境事件应急预案:为避免突发环境事件的发生或减轻突发环境事件的后果,所进行的预防与应急准备、监测与预警、应急处置与救援、事后恢复与重建等应对行动。
先期处置:突发环境事件发生后在事发地第一时间内所采取的紧急措施。
后期处置:突发环境事件的危害和影响得到基本控制后,为使生产、工作、生活、社会秩序和生态环境恢复正常状态在事件后期所采取的一系列行动。
应急监测:指环境应急情况下,为发现和查明环境污染情况和污染范围而进行的环境监测。包括定点监测和动态监测。
本预案中对数量的表达,所称“以上”含本数,“以下”不含本数。
9.2预案管理
预案实施后,博州生态环境局精河县分局要会同有关部门组织预案宣传、培训和演练,并根据应急救援相关法律法规的制定、修改和完善,适时组织评估和修订,或者应急过程中发现存在的问题和出现新的情况,及时修订完善本预案,报县人民政府批准。
9.3预案解释
本预案由博州生态环境局精河县分局组织修订,报县人民政府批准后实施。本预案由博州生态环境局精河县分局负责解释。
9.4预案实施时间
本预案自印发之日起实施。
10.附件
附件1
精河县突发环境事件应急组织体系结构图

图9-1精河县发环境事件应急组织结构框架图
附件2
精河县突发环境事件应急响应流程图

图9-2精河县突发环境事件应急响应流程
附件3
精河县突发环境事件应急指挥中心及成员单位通讯录
名称 |
姓名 |
职务 |
指挥长 |
库尔曼江 |
县党委副书记、县长 |
副指挥长 |
亚里坤·阿地里 |
县人民政府党组成员、副县长 |
成员 |
哈力丹·阿不都拉 |
县党委宣传部副部长 |
彭毅 |
县党委宣传部副部长、网信办主任、县公安局党委委员 |
|
刘亚军 |
博州生态环境局精河县分局党组书记、局长 |
|
王东 |
县水利局党组副书记、局长 |
|
成方 |
县党委组织部副部长,县人社局党组书记、局长 |
|
张有军 |
县商务和工业信息化局党组书记、副局长 |
|
杨龙 |
县消防救援大队大队长 |
|
张予东 |
县卫健委党组书记、副主任 |
|
樊宏权 |
县公安局党委副书记、政委 |
|
张丽琴 |
县财政局党组副书记、局长 |
|
王海勇 |
县住建局党组副书记、局长 |
|
其仁巴特 |
县自然资源局党组副书记、局长 |
|
袁红海 |
县交通运输局党组书记、副局长 |
|
王伟 |
县农业农村局党组副书记、局长 |
|
高峰 |
县教育局党组副书记、局长 |
|
余志勇 |
县应急管理局党委书记、副局长 |
【关闭】